
SOLAR POWERED OUTDOOR LIGHTING DEVICE (22-July-2021)
Michael John Arieni v Sun-Wizard Holding Pty Ltd [2021] APO 20
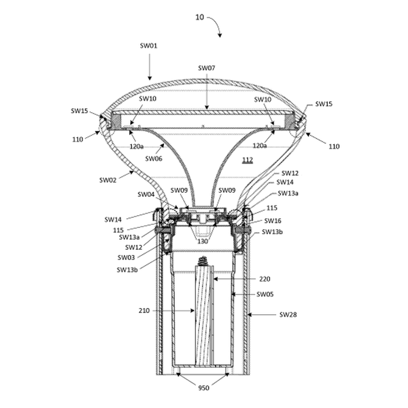
In the words of the Hearing Officer: ‘The present invention relates to a solar powered, weatherproof outdoor lighting device for use in various environments such as gardens, walkways, driveways and jetties’
Takeaway:
As stated by the Hearing Officer:
The law on inventorship/entitlement has been considered in University of Western Australia v Gray [2009] FCAFC 116 (UWA) and Polwood Pty Ltd v Foxworth Pty Ltd [2008] FCAFC 9 (Polwood). In particular, steps for determining who is an eligible person are apparent from [253] of UWA as part of a broader discussion from [253] to [256]. These steps may be given for present purposes as follows:
- identify the “inventive concept” of the invention as defined in the claims.
- determine inventorship including the person responsible for the inventive concept and the time of conception as distinct from its verification and reduction into practice.
determine whether any contractual or fiduciary relationships give rise to proprietary rights in the invention.
