
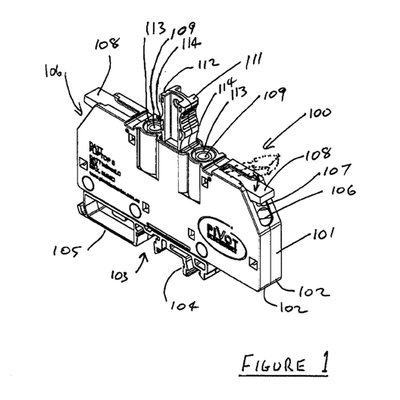
Terminal and Disconnection Link
Phoenix Contact GmbH & Co. KG v Pivot Electronics Pty Ltd [2021] APO 16
In the previous decision of Phoenix Contact GmbH & Co. KG v Pivot Electronics Pty Ltd, [2020] APO 35, it was found that claims 1, 2 and 10-12 were not novel and that claims 1-3 and 10-14 did not have an inventive step. An opportunity to amend was provided. The amendment was allowed. The amendment was not opposed.
Before final determination, the Patent Office provided the parties an opportunity to be heard. A number of the proposed claims (including claim 1) were found to lack an inventive step. In allowing a further opportunity to amend to correct deficiencies weight was given to: (i) there being patentable subject matter; and (ii) a genuine attempt to amend having been made.
In the words of the Hearing Officer: ‘The present case is somewhat similar to the Merial case. Although perhaps a little misconceived in the present case, I think the applicant has made a genuine attempt to address the findings of the previous decision. Moreover, it is clear that there is patentable subject matter in the specification. The claims in the present claim set without any identified deficiencies would appear to be a useful reference… I will allow the applicant a further opportunity to file further amendments to overcome the present deficiencies.’
(Numbering issues and indentation issues still to be fixed below)
